Z41X明桿軟密封閘閥
產品概況
產品型號:Z41X
公稱通徑:DN15-600 mm
公稱壓力:PN1.6~2.5MPa
適用溫度:0~80℃
適用介質:水
閥體材質:球墨鑄鐵等
驅動方式:手動、電動、氣動等
法蘭標準:GB/T 17241.6 GB9113
試驗標準:GB13927 AP1598
一、Z41X明桿軟密封閘閥產品的概述
百鋼閥門集團生產銷售的Z41X明桿軟密封閘閥除具有彈性座封閘閥的優點之外,并可以較直觀顯示閥門開度,啟閉迅速可靠,故常用于消防及工業系統。一
般安裝于距地面較高的位置。利用閘門整體包膠產生變形補償作用達到良好的密封效果,克服了一般閘閥密封
不良、漏水和生銹的現象。可廣泛用于自來水、污水、建筑、石油、化工、食品、醫
藥、輕傷、電力、船舶、冶金、能源系統等流體管線上作為調節和截流裝置使用。
二、Z41X明桿軟密封閘閥產品的特點
1、整體包膠:閘門采用整體包膠,其良好的覆蓋性能與精確的幾
何尺寸,保證密封可靠,壽命。
2
、重量輕:閥體采用球鐵制成,重量輕,安裝方便。
3、平底閥座:底部采用與水管相同的平底式閥座設計,不產生雜
物淤積,密封更可靠。
4、耐腐蝕:內
腔采用無毒環氧樹脂涂狀,防止腐蝕和生銹,不但可供生飲,而且可用于污水系統。
5、三“0”密封:閥桿采用三道0型
環密封,磨擦阻力小,開關輕巧,不漏水。
三、Z41X 明桿軟密封閘閥主要性能參數
| 壓力等級 | 1.0MPa、1.6MPa、2.5MPa |
| 閥體耐壓 | 1.5MPa、2.4MPa、3.75MPa |
| 密封試驗 | 1.1MPa、1.76MPa、2.75MPa |
| 工作溫度 | 0~80℃ |
| 適用介質 | 水 |
四、 Z41X明桿軟密封閘閥主要零件材料
| 序號 | 名稱 | 材料 | 序號 | 名稱 | 材料 |
| 1 | 閥體 | 球墨鑄鐵 | 8 | 止推墊 | 錫青銅 |
| 2 | 閘板 | 球墨鑄鐵外覆EPDM | 9 | 軸套 | 錫青銅 |
| 3 | 螺栓 | 鍍鋅 | 10 | 螺栓 | 鍍鋅 |
| 4 | 密封圈 | NBR | 11 | 軸蓋 | 球墨鑄鐵 |
| 5 | 閥蓋 | 球墨鑄鐵 | 12 | 防塵罩 | NBR |
| 6 | 閥桿 | 不銹鋼 | 13 | 手輪 | 鑄鐵 |
| 7 | “O”形密封圈 | NBR | 14 | 緊固螺母 |
|
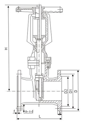
五、Z41X明桿軟密封閘閥主要外形連接尺寸

|
DN |
50 |
65 |
80 |
100 |
125 |
150 |
200 |
250 |
300 |
350 |
400 |
|
L |
178 |
190 |
203 |
229 |
254 |
267 |
292 |
330 |
356 |
381 |
406 |
|
HA |
322 |
332 |
350 |
420 |
581 |
581 |
736 |
882 |
1009 |
1300 |
1380 |
|
HC |
374 |
398 |
429 |
524 |
721 |
736 |
942 |
1031 |
1117 |
1655 |
1805 |
溫馨提示:
本文中所有文字、數據、圖片均只適用于參考。需要查看更多的Z41X明桿軟密封閘閥性能參數、結構尺寸參數、價格等詳情,或要求高質量印刷樣本,請聯系我們。